Apple Watch Line Drawing

How To Make Apple Watch Sketches That Don T Suck Imore
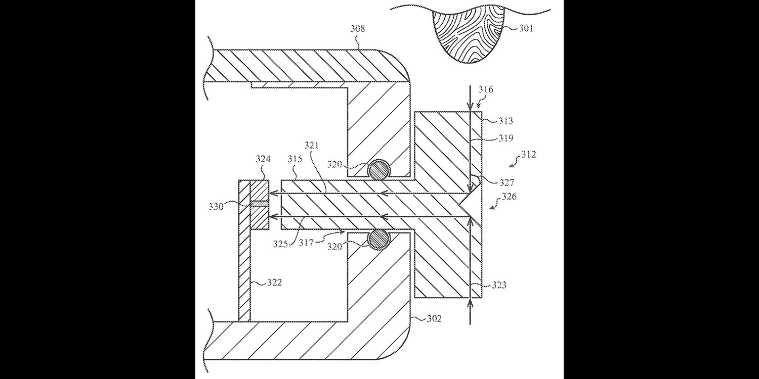
Apple Has Been Granted A Patent For A New Embedded Water Detection And Heater System For A Future Apple Watch Patently Apple

Apple Patents Apple Watch Sport Band Classic Buckle And Link Bracelet Designs Appleinsider

Depictions Of Haptic Actuators In The Iphone And Apple Watch Source Download Scientific Diagram

Apple Watch Series 5 So Konntest Du Mit Der Smartwatch Fotografieren

Apple Exploring Self Adjusting Apple Watch Band Designs Macrumors Forums
Apple SVG images download for free Apple Art line drawing and illustration vector royalty free download Apple svg file Add to Cart Add to Lightbox Ball SVG image Ball Art line Vector drawing Illustration Watch Art line drawing and illustration vector royalty free download Yacht Boat svg file.

Apple watch line drawing. Apple SVG image Apple Art line Vector drawing Illustration Apple SVG images download for free Apple Art line drawing and illustration vector royalty free download Apple svg file Add to Cart Add to Lightbox. DrawingApp Create amazing drawing art on the go with Drawing App for iPhone & iPad Create amazing drawing ideas to life Use DrawingApp's stateoftheart brushes and tools to sketch, type, paint, and draw Take your drawing creations to wherever your thoughts want to go!. If buying an Apple Watch from Apple, free personal setup is also available to help you configure and start using it Location sharing Setting up Family Sharing and adding your husband to the family group would, with relevant sharing permissions, enable use of the Find My iPhone app on your iPhone (or via iCloudcom in a web browser) to locate.
If you're looking for the best drawing app for iPad to rule them all, you can't go wrong with Procreate It's one of the most powerful sketching, painting, and illustration apps that you can buy for your iPad, and it's built for professionals and works flawlessly with Apple Pencil. Some owners of the Apple Watch Series 3 have complained about the update to watchOS 7 causing crashes and shutdowns, in what could be early teething issues for the operating system. These are some quick minimal drawings created in one continuous lineToolsApple iPad Pro 129" 6th GenApple PencilProCreate AppYou can find more of my work.
Enough people have asked, so here is a model of the 42mm Apple Watch Let me know if anything should be changed, added, new formats required, or anything else Feel free to add any renderings of different configurations to the project. The Apple Watch designs cover lineart with each design patent emphasizing a specific aspect of the watch that Apple wants protected For instance, design patent M013, not presented above. I Found a simple solution for when your Apple Watch will not Charge!.
Shop Apple Pencil It makes drawing, notetaking, and marking up documents on iPad better than ever Buy now and get fast, free shipping. The Apple Watch takes some getting used to Not only are there new interactions including the Digital Crown dial on the side of the smartwatch and the Force Touch technology built into the display. Bands and Lugs Apple Watch bands are easily changed with simple release buttons and lugs that secure the band to the Apple Watch case When creating your custom bands, refer to Accessory Design Guidelines for Apple Devices Accessory Design Guidelines for Apple Devices.
Apple Watch SE (GPS Cellular) with Sport Band NEW from RM1, Apple Watch SE (GPS) NEW from RM1, View all View all 38 products Same Day Delivery View all iPhone 12 with Machines Protection Plan from RM4, iPhone 12 mini with Machines Protection Plan from RM4,. Draw a short horizontal line near the top of the apple and make the ends curve up like a smile Then, draw a short vertical line that's the same size as the indent line, but make it curve away to the right or left Sketch another parallel line with barely any space in between them. The Apple Watch Series 6 has an all new health sensor for blood oxygen detection and PRODUCT(RED), blue and graphite colors Find out more about the latest Watch here.
If that person has an Apple Watch, you should see a Digital Touch icon, which looks like a hand with a forefinger extended Tap the Digital Touch icon You can now draw, tap, or put two fingers on the screen to send your heartbeat For sketches, start drawing on the black screen and you should see your image appear. Since its debut way back in 15, each iteration of the Apple Watch has come with newer and, well, better features The Series 3 was the first with cellular, Series 4 increased the display and. Apple Watch Series 6 lets you to take ondemand readings of your blood oxygen and background readings The Apple Watch Series 6, Apple Watch SE, and Apple Watch Series 3 have a water resistance rating of 50 meters This watch may be used for activities like swimming in a pool The Apple Watch models also make a fashion statement.
Open the Apple Watch app on your iPhone Tap the My Watch tab, then tap General > About Find the Model field You should see the part number that begins with "M" Tap the Model field You should see the field update to show a fivedigit number that begins with "A" This is your model number. Apple Watch 6 Series The new watch will include a new tool to measure blood oxygen levels and an improved tool for measuring sleep, the brand said — Apple is partnering with academia spanning. Press the side button on the side of your Apple Watch to bring up your Friends circle Use the Digital Crown to select the person you'd like to send a sketch to Tap on the finger icon Sketch whatever you'd like and it will automatically send as soon as you stop drawing.
An Apple Watch that only offers WiFi/Bluetooth connectivity and isn’t swimresistant but has builtin GPS can run from $329 to $359 Advanced An Apple Watch that offers cellular LTE connectivity, swim resistance, builtin GPS, and a sport band can run from $399 to $799 Models with these features plus a leather band can run from $1,149 to. Apple Watch faces and their features Your Apple Watch comes with a variety of watch faces, most of which you can customize See Customize the watch face to learn more Look for software updates;. Custom Apple Watch Bands from Zazzle Show off your Apple watch by adding a little bit of fun and personality to your wristbands With vibrant printing and UV ink, these quality handcrafted Apple watch bands won’t fade and will look and wear great for years to come.
RELATED Apple Watch Series 6 All The New Watch Faces To Choose From Once again, this is going to be a bit of a gamechanger, and it suggests that those at Apple are finally starting to realize that even the most loyal of their customers sometimes find the seemingly arbitrary aspects of design more than a little frustrating and are putting. Good news—your iPhone and Apple Watch Series 5 or Apple Watch Series 4 will share the same phone number So you won’t have to get or remember another phone number Apple Watch Series 5 or Apple Watch Series 4 has an embedded SIM (eSIM) in it, so there’s no need to get a SIM card or transfer the SIM from another device. An Apple Watch that only offers WiFi/Bluetooth connectivity and isn’t swimresistant but has builtin GPS can run from $329 to $359 Advanced An Apple Watch that offers cellular LTE connectivity, swim resistance, builtin GPS, and a sport band can run from $399 to $799 Models with these features plus a leather band can run from $1,149 to.
Apple Watch Series 6, Apple Watch SE and Apple Watch Series 3, show two designs of Apple Watch A third design is expected next year Apple Apple’s next update to the highly successful. An Apple Watch that only offers WiFi/Bluetooth connectivity and isn’t swimresistant but has builtin GPS can run from $329 to $359 Advanced An Apple Watch that offers cellular LTE connectivity, swim resistance, builtin GPS, and a sport band can run from $399 to $799 Models with these features plus a leather band can run from $1,149 to. Apple Pencil Dream it up Jot it down Apple Pencil sets the standard for how drawing, note‑taking, and marking up documents should feel — intuitive, precise, and magical All with imperceptible lag, pixel‑perfect precision, tilt and pressure sensitivity, and support for palm rejection Incredibly easy to use and ready when inspiration.
Apple Watch Series 5 takes the world’s best health and fitness tracker and motivator, connected communications and emergency contact band, and wearable computer platform, and brings it all back full circle — into just what might be the world’s best watch. One of the most heavily advertised products during the holiday sales is the Apple Watch, primarily for the entrylevel Series 3 model, which is available for as low as $119 at Walmart. Welldesigned cases, covers, screen overlays, watch bands, camera attachments, and Bluetooth accessories, complement Apple devices without interfering with their operation As you create accessories for Apple products, follow the design guidelines and test your prototypes to make sure they meet the necessary requirements.
Apple Watch Series 6 lets you to take ondemand readings of your blood oxygen and background readings The Apple Watch Series 6, Apple Watch SE, and Apple Watch Series 3 have a water resistance rating of 50 meters This watch may be used for activities like swimming in a pool The Apple Watch models also make a fashion statement. How to fix that annoying little problem when your Apple Watch gets Stuck on the Charging. Apple Watch Series 5 and Apple Watch Series 3 have a water resistance rating of 50 meters under ISO standard This means that they may be used for shallowwater activities like swimming in a pool or ocean.
The set of watch faces that follows might differ from what you see on your Apple Watch. SwiftUI is a modern way to declare user interfaces for any Apple platform Create beautiful, dynamic apps faster than ever before 4hr 25min Estimated Time Discover how to draw shapes and paths to create a badge that you’ll animate, while also creating seamless transitions between views Watch WWDC sessions about SwiftUI. Draw a short horizontal line near the top of the apple and make the ends curve up like a smile Then, draw a short vertical line that's the same size as the indent line, but make it curve away to the right or left Sketch another parallel line with barely any space in between them.
In a word processor document, you still have to draw the drawing in another app, save it in compatible format for import into the document, then import that sketch as an image into a document I don’t think what you want to is possible, at all, with any mobile device or iPad Pro Here's what the iOS version of Google Docs is capable of doing. The good news is that if you were hoping for something like that, you might want to hold off on your purchase until 21 This is because according to notable Apple analyst MingChi Kuo, he claims that Apple is expected to refresh the design of its MacBooks in the second half of 21, but those design changes will also be applied to the Apple Watch. Apple Watch Price Guide tracks the lowest prices on the new Series 6 and SE models, plus closeout savings on Apple Watch 5 styles.
Apple Watch Series 6 44mm or 40mm case size AlwaysOn Retina display GPS Cellular 1 8 7 4 6 GPS Blood Oxygen app 2 1 6 10 5 ECG app 3 2 7 11 6 High and low heart rate notifications. Tap the swatch on the lefthand side to choose a different color Touch and hold (long press) any of the swatches to reveal the custom color palette Draw your sketch on the canvas area in the middle Source iMore When you're happy with your sketch, you can tap send (Looks like an arrow). Shop for apple watch bands online at Target Choose from contactless Same Day Delivery, Drive Up and more.
The game a waste of my time and storage, if I say glow, you say draw!. How to draw cross contour lines on an apple drawing. But actually, YOU CAN’T DO EITHER It doesn’t glow right, just some white lines with the color you picked as borders I got this app off of mood scan and, even though mood scan doesn’t even give me the right emotion, it’s more entertaining than this,.
Family Setup will not work with the Watch Series 3, which Apple is still selling $429 $369 at Amazon Photograph Apple Avoid These Watches Series 1 and 2. Apple Watch Series 5 and Apple Watch Series 3 have a water resistance rating of 50 meters under ISO standard This means that they may be used for shallowwater activities like swimming in a pool or ocean However, they should not be used for scuba diving, waterskiing, or other activities involving highvelocity water or submersion. When using Scribble, Apple Watch will capitalise words as it believes that you intend to write them After drawing a capital letter, if a lower case letter is typed instead, then turn the Digital Crown to select the capitalised version as a replacement More Less Oct , 17 430 AM.
Apple Watch Series 5 and Apple Watch Series 3 have a water resistance rating of 50 meters under ISO standard This means that they may be used for shallowwater activities like swimming in a pool or ocean However, they should not be used for scuba diving, waterskiing, or other activities involving highvelocity water or submersion. Learn how to draw an Apple with oil pastel step by step for beginners. The Apple Watch remains one of the bestselling smart devices on the market, but even a king can have a bad day We’ve taken a deep dive through forums, comments, and other online opinions on a.
Pixilart is an online pixel drawing application and social platform for creative minds who want to venture into the world of art, games, and programming Pixel art is fundamental for understanding how digital art, games, and programming work. The Apple Watch is a deceptively powerful device Here's a guide on how to use your new Apple Watch, from learning its controls to starting workouts. How to Draw an Apple Watch Step 1 At first sketch out the outlines of the screen of our Apple Watch Use very light line on this step Step 2 Now draw the back of the screen with the circle digital crown and button as in our example The angles here Step 3 Continue drawing tutorial about how.
Typing, or better drawing, on your Apple Watch can unquestionably give birth to a lot of frustration, most notably when the software flatout refuses to comply Nothing is more aggravating than watchOS recurrently mistaking your input for the wrong letters or having to start all over again since you want to make small changes in your wording. The free Apple Watch winner will be randomly drawn by our software as well Anyone who reaches 5000 points or more will qualify for the ability to win a free Apple Watch It should also be mentioned that if you qualify for the Apple Watch, you are also eligible for both the Pebble Smart Watch and iTunes gift card drawings. Apple Watch can alert you to high or low heart rates as well as irregular rhythms And with Apple Watch Series 4 and later, you can take an electrocardiogram (ECG) any time Set up heart notifications Take an ECG Do more with Apple Watch Create and share watch faces.
To draw an apple, start by drawing a circle and then an oval that overlaps the top of the circle Then, inside of the oval, draw 2 parallel curved lines with a small circle at the end to make the stem After you draw the stem, erase the part of the oval that extends outside of the circle. Apple Watch Series 6;.

Apple Files Patent To Put Built In Cameras On Apple Watches
Apple Updates A Patent To Focus On A Future Apple Watch Redesign That Would Involve Replacing Its Metal Case With One Of Glass Patently Apple
Apple Wins A Patent For A Chameleonic Watch Band That Glows Via Leds And Is Able To Mimic The Colors The User Is Wearing Patently Apple

How To Make Apple Watch Sketches That Don T Suck Imore

How To Draw An Apple Watch Drawingforall Net

Edgegear Shift Apple Watch Band For Runners Cult Of Mac Store
Www Droit Technologie Org Wp Content Uploads 17 02 Dossier Pdf Pdf

Apple Watch Drawing At Paintingvalley Com Explore Collection Of Apple Watch Drawing
/article-new/2015/04/Screenshot-251.png?lossy)
Apple Watch Sport Bands Come In Three Pieces Full Band Swapping Not Possible Macrumors

Pin On Duke

Samsung Caught Using Drawings Of Apple Watch In Its Own Smartwatch Patent Filing

Future Flexible Apple Watch Could Use A Display On The Band As Well

Apple Watch Could Get A Band With A Camera Cnet

Another Apple Watch Patent Features Battery Band Oddly Shows Round Watch Design 9to5mac

Apple Considered Fitting Camera In Apple Watch S Wristband Pcmag

55 Best Apple Watch Mockup Templates Designazure Com

Apple Background Png Download 1600 1600 Free Transparent Watch Png Download Cleanpng Kisspng

Ditch The Apple Watch Sport Band Get Shift Instead Cult Of Mac Store
Apple Wins A Patent For A Future Apple Watch Band With An All New Connector With Dynamic Adjustment That S Genius Patently Apple

Apple Releases Watch S Cad Drawings To The Public 21

Next Apple Watch May Feature Touch Id Under Display Gizmochina
Q Tbn And9gcsslzsm9957nwl5aqvegspfecgmxilb46 M Eoveygiiax3f15p Usqp Cau
Apple Invents Next Gen Apple Watch Bands Fasteners Designed To Keep The Band Snug To Support Biometric Sensors Patently Apple

Ideo On The Design Of Cmra Apple Watch S First Camera Apple Watch Design Watch Sketch Horology Design

The Apple Watch Camera Might Not Be Placed On The Apple Watch
Apple Has Been Granted 15 Extraordinarily Detailed Design Patents For Apple Watch 4 Using Various Line Art Types Patently Apple

Apple Granted Design Patent For Apple Watch Probably To Be Used In Future Lawsuits

Apple Smartwatch Drawing Apple Watch Line Transparent Background Png Clipart Hiclipart

Apple Watch Bands With Self Tightening Skin Texture Authentication And Led Progress Bar Detailed In Patents Macrumors
:no_upscale()/cdn.vox-cdn.com/uploads/chorus_asset/file/3673642/apple_watch_patent.0.jpg)
Apple Secures Design Patent For The Apple Watch The Verge

How To Draw Apple Watch Youtube

Vector Download Iphone Apple Watch Line Drawing Free Transparent Png Clipart Images Download

How To Draw An Apple Watch Drawingforall Net

Vector Download Iphone Apple Watch Line Drawing Free Transparent Png Clipart Images Download

How To Draw An Apple Watch Drawingforall Net

Smart Apple Watch Bands Described Including Wrist Id 9to5mac

Future Self Adjusting Apple Watch Band May Include A Health Recording Sensor Apple World Today

A Round Apple Watch Could Still Be On The Cards According To A New Patent

Exclusive Apple Watch Strap Made Of Real Wood Woodcessories 69 90

5 Ideas For Apple Watch Wired

Apple Patent Reveals Apple Watch With An Antenna In Its Band Imore

How To Draw The Apple Watch Iwatch Step By Step Drawing Guide By Dawn Dragoart Com

New Patent Hints At Wrist Id For Apple Watch

Apple Researching Bio Authentication Processes For The Apple Watch Myhealthyapple

Apple Watch Magnetisches Usb C Ladekabel 0 3 M Stromkabel Alza De

Belkin Official Support Charging The Apple Watch And Iphone On The Belkin Powerhouse Charge Dock F8j0
Apple Patent Reveals Apple Watch S Digital Crown Being Eliminated And Replaced With An Optical Based System Patently Apple
Apple Won An Apple Watch Band Patent For Delivering Tactile Notifications In The Form Of Symbols And Or Braille Patently Apple

Future Flexible Apple Watch Could Use A Display On The Band As Well

Apple Investigating Reinforced Plastic As Case Material For Future Apple Watch Appleinsider

Is Apple S Approach To Blood Pressure Monitoring Via Apple Watch Different Than That Of Samsung S Myhealthyapple

How To Draw An Apple Watch Drawingforall Net

Apple Researching Exchangeable Backplates That Could Extend Apple Watch Battery Life

Atch Apple Watch Jonyive Sketch Sketching Sketchaday Sketchbook Copics Marker Rendering Id Ide Watch Drawing Watch Sketch Industrial Design Sketch

Apple Looks Into Ways To Make The Apple Watch Even More Waterproof Apple World Today

Apple Watch With Touch Id Seen In Patent Application 9to5mac

Apple Watch Design Patent1 1024x949 Png 1024 949 Watch Sketch Apple Watch Design Watch Drawing
Three Apple Patents Cover Depth Mapping A Biometric Heart Band And A Solution For Apple Watch Display Burn In Patently Apple
Apple Invents Next Gen Apple Watch Bands Fasteners Designed To Keep The Band Snug To Support Biometric Sensors Patently Apple

Apple Awarded Patents For Apple Watch Sport Band Classic Buckle And Link Bracelet Designs
Apple Watch Series 5 Dimensions Drawings Dimensions Com
Apple Watch Series 2 Dimensions Drawings Dimensions Com

Apple Watch Patent Application Reveals Millimeter Wave 5g And Wi Fi Design Venturebeat
1

Apple Watch Camera With A Nifty Design Seen In Apple Patent 9to5mac
How To Make Apple Watch Sketches That Don T Suck Imore

Patent Describes Apple Watch Feature For Improving Treatment Of Parkinson S Disease Symptoms Macrumors

Tattoos Sketches New Apfel Zeichnen Minimalistische Zeichnung Einzellinienzeichnung

Apple Watch 4 Mit Always On Display Macerkopf

Apple Releases Apple Watch Cad Drawings Core77

Future Apple Watch Could Respond To Hand Movements And Gestures For Interaction Appletoolbox

Apple Watch Series 6 And Watch Se Specs Features Price
Q Tbn And9gcqdvib 3rpwwkpqlpz0glwdaxybbuyqz Faoppiqqklff7cy2xs Usqp Cau

Designing For Apple Watch Designing A Glance In Sketch

Apple Watch Wrist Sensors Could Increase Security By Scanning Veins In The Wearer S Wrist Appleinsider

Round Apple Watch Could Be Coming Soon Based On New Patent Slashgear
/cdn.vox-cdn.com/uploads/chorus_image/image/66705230/EWYiFuDU8AAGcpl.0.jpeg)
An Apple Watch Designer Shares Behind The Scenes History To Celebrate The Device S Fifth Birthday The Verge

5 App Design Tips To Take Advantage Of The Apple Watch

Collection Of Apple Watch Mockups And Ui Kits

Apple Watch The Secret History Of The Iphone Killer Wired

How To Draw The Apple Watch Youtube

Pin On Detail Drawings

How To Send A Drawing On The Apple Watch 8 Steps With Pictures
Q Tbn And9gcqehwaaqb A 7p Rdbunqlf X8s4mv86yfamu6f E0 Usqp Cau

Apple Line Drawing Hd Stock Images Shutterstock

Apple Watch Drawing At Paintingvalley Com Explore Collection Of Apple Watch Drawing
Apple Advances Apple Watch Band Invention To Include An Embedded Strain Gauge To Record Accurate Health Data Patently Apple

How To Draw A Smart Watch Drawingforall Net

Apple Smartwatch Patent Hints At Future Apple Watch Models With Built In Cameras Digital Photography Review

Watch Designsketching Idsketching Sketchilycarr Id Industrial Watch Drawing Watch Sketch Industrial Design Sketch

Apple Smartwatch Patent Hints At Future Apple Watch Models With Built In Cameras Digital Photography Review
Apple Wins An Apple Watch Patent For Controlling Certain Functionality With Simple Wrist Actions Patently Apple
A Samsung Patent Published Yesterday Points To Plans To Match The Apple Watch Ecg Feature On A Future Gear Watch More Patently Apple

Apple Watch Could Get A Camera On The End Of A Watch Band S Strap Appleinsider
/article-new/2019/09/apple-watch-biometric-sensor.jpg?lossy)
Apple Watch Bands With Self Tightening Skin Texture Authentication And Led Progress Bar Detailed In Patents Macrumors
/article-new/2019/09/apple-watch-1m-magnetic-charging-cable-usb-c.jpg?lossy)
Apple Watch Magnetic Charger To Usb C Cable Now Available In Longer 1m Size Macrumors

Apple Patents Watch Band With Built In Camera

Apple Releases Apple Watch Cad Drawings Core77